Home & Contact

How to Make Butt Joints

Step1: The butt joint is very simple to make and you start by measuring out the lengths you want your timber to be and then using a try square mark a straight line across the timber where you are going to cut it.

Step2: Now cut your timber at the line you have marked and repeat steps 1 and 2 on your next piece of timber.

You can either use a hand saw such as a tenon saw to cut your timber or you can use a drop saw. If you are securing the joint together with pieces of dowel drill the holes accurately now before you begin step 4.

making a butt joint picture 1
making a butt joint picture 2
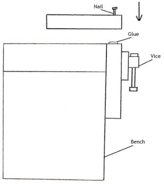
Step3: Secure your first piece of timber in a vice or to the side of a bench with clamps but keep the top flush with the rest of the bench.
Step4: Apply some glue to the top of the secured timber and then place your next piece of timber directly over your first piece making sure to line up the edges. Now clamp up the joint or hammer in some nails or add some screws.
making a butt joint picture 3
Step5: Now check to see if you're joint is square and leave it to dry. If you are putting nails or screws in the joint check it is square before you use them.
Step6 Optional: You can strengthen your butt joint by securing a square or triangular block of wood to the inside of the joint which also helps to prevent movement.
  Home
  Contact Me
  Timber
  Solid Timber
  Particle Board
  Plywood
 
MDF
  Veneer
  Joints
  Butt
  Mitre
  Rebate
  Housing
  Halving
 
Dowel
 
Biscuit
 
Dovetail
 
Mortise and Tenon
 
Bridle
 
Tongue and Groove
  Finishes
  Stains
  Oils

  Wax

  Acrylic
  Polyurethane
  Adhesives
  PVA
  Epoxy

  Polyurethane

  Contact Adhesive
  Components
  Nails
  Screws

  Hinges
  Tools
  Hand Tools
  Power Tools

  Machinery
  Facts and Tips
  Hardwood
  Softwood

  Seasoning

  Wood Layers

  Woodwork Tips
Site Map
Copyright © 2010 - 2019 woodworkbasics.com. All Rights Reserved.
Best Viewed in Screen Resolution 1280 × 720 or Higher